присоединение: резьбовое - четыре отверстия G1/4"; G3/8"; G1/2" в плите, трубы в стороны или вниз;
условный проход (Ду) 6; 10; 16 мм.
Распределители 4-х линейные крановые с условным проходом (Ду) 6; 10; 16 мм, трехпозиционные с ручным управлением предназначены для изменения направления потоков сжатого воздуха в пневмоприводах различного назначения.
Присоединение: G1/4"; G3/8"; G1/2"; резьбовые отверстия в плите, трубы в стороны или трубы вниз.
Рабочая среда - сжатый воздух, очищенный не грубее 10 класса загрязненности по ГОСТ 17433 содержащий распыленное масло вязкостью от 10 до 35 мм2/с (сСт) при температуре 50°С.
Климатическое исполнение УХЛ, категория размещения 4 по ГОСТ 15150.
Виброустойчивость и вибропрочность соответствуют II степени жесткости по ГОСТ 28988.
Функциональная схема исполнения пневмораспределителей - трехпозиционные четырехлинейные с ручным управлением:
- в средней позиции золотника обе полости потребителя сообщены с атмосферой;
- в средней позиции золотника все линии перекрыты.
Для снижения уровня шума при сбросе сжатого воздуха в атмосферу рекомендуется установить в канал (R) пневмоглушитель типа 2113.
Пневмораспределители могут быть установлены в любом пространственном положении и крепятся четырьмя винтами М5.
Пример записи при заказе распределителя с условным проходом 10 мм, плитой для трубного монтажа, трубы в стороны, в средней позиции - обе полости потребителя сообщены с атмосферой, климатическое исполнение УХЛ, категория размещения 4: ПНЕВМОРАПРЕДЕЛИТЕЛЬ HV400-10EУХЛ 4
СТРУКТУРНАЯ СХЕМА ОБОЗНАЧЕНИЯ
УСЛОВНОЕ ГРАФИЧЕСКОЕ ОБОЗНАЧЕНИЕ

ТЕХНИЧЕСКАЯ ХАРАКТЕРИСТИКА
| Параметры | Нормы для типоразмеров | ||
| HV400-08 HV400-08E HV400-08D | HV400-10 HV400-10E HV400-10D | HV400-15 HV400-15E HV400-15D | |
| 1.Условный проход, мм | 6 | 10 | 16 |
| 2.Присоединение пневмолиний, дюйм | G1/4 | G3/8 | G1/2 |
| 3.Номинальное давление, МПа | 1,0 | ||
| 4.Масса, кг, не более | 0,45 | 0,40 | |
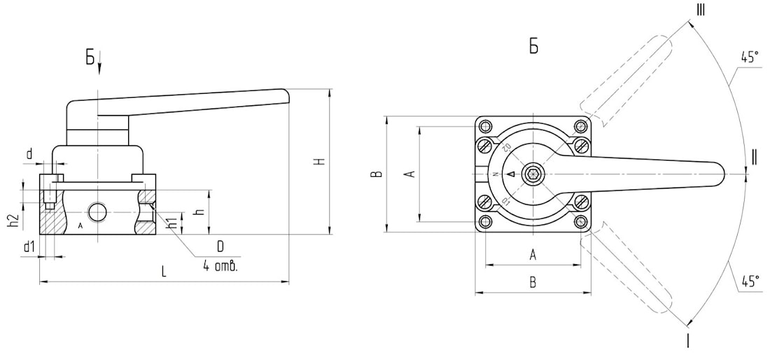
ГАБАРИТНЫЕ И ПРИСОЕДИНИТЕЛЬНЫЕ РАЗМЕРЫ
ПНЕВМОРАСПРЕДЕЛИТЕЛИ HV400-08; HV400-10, HV400-15, HV400-08Е; HV400-10Е, HV400-15Е

Для снижения уровня шума при сбросе воздуха в атмосферу рекомендуется установить в канал (3) пневмоглушитель типа 2113.
| Обозначение | Размеры, мм | |||||||||
| D | d | d1 | А | В | Н | h | h1 | h2 | L | |
| HV400-08 | G1/4" | 8,3 | 5,5 | 60 | 73 | 90 | 28 | 14 | 8 | 158 |
| HV400-10 | G3/8" | |||||||||
| HV400-15 | G1/2" | |||||||||
| HV400-08E | G1/4" | 62 | 93 | 30 | ||||||
| HV400-10E | G3/8" | |||||||||
| HV400-15E | G1/2" | |||||||||
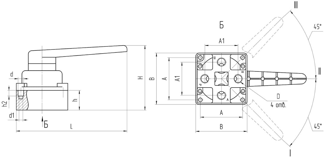
ПНЕВМОРАСПРЕДЕЛИТЕЛИ HV400-08D; HV400-10D, HV400-15D

Для снижения уровня шума при сбросе воздуха в атмосферу рекомендуется установить в канал (3) пневмоглушитель типа 2113.
| Обозначение | Размеры, мм | |||||||||
| D | d | d1 | А | A1 | В | Н | h | h2 | L | |
| HV400-08D | G1/4" | 8,3 | 5,5 | 60 | 45 | 73 | 90 | 28 | 8 | 158 |
| HV400-10D | G3/8" | |||||||||
| HV400-15D | G1/2" | |||||||||