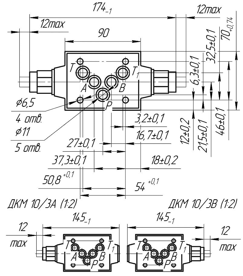
Гидродроссели с обратным вспомогательным клапаном типа ДКМ предназначены для свободного пропускания потока рабочей жидкости в одном направлении и перекрытия потока в обратном направлении.
| Модель гидродросселя | Диапазон давления на входе, МПа | Диапазон регулирования давления, МПа | Диапазон расхода рабочей жидкости, дм3/с | Внутренняя герметичность (максимальные внутренние утечки), см3/с | Масса, не более, кг |
| ДКМ 10/3 | 0,35-35,0 | 1,0-32,0 | 0-2,7 | 350 | 2,2 |
| ДКМ 6/З | 0,5-32,0 | 0-12,5 | 300 | 1,3 |
